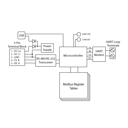
MicroLink-HM+ USB/RS-485/RS-232 HART Modem with Modbus Accumulator
MicroLink-HM+ is a HART® protocol modem to USB/RS-485/RS-232 serial interface. In addition to functioning as a HART protocol modem, it can also be configured to continuously poll HART devices, filling Modbus registers with device values without any additional HART software.
Modbus registers can be read using standard Modbus-RTU command 3 from the USB and/or RS-485/RS-232 serial ports.
Includes a USB cable and Windows PC software on a CD.
MicroLink-HM+ Manual (PDF)
MicroLink-HM+ Quick Start Guide (PDF)
> HM Configuration App
> HART Protocol Host App
Application Note 620-0026 - Using Modbus with MicroLink-HM
Features
-
Can be used as a standard HART protocol modem or HART to modbus accumulator
-
Configurable RS-485/RS-232 Modbus serial port
-
DIN Rail Mounted (35mm)
-
Wide 5 to 30 Vdc supply range
-
LEDs provides HART and serial communications status
-
Compatible with USB to RS-485/RS-232 serial converter cables
-
Serial port can be set to standard baud rates from 1200 to 57600 O, E, N parity
-
Complies with HART physical layer
-
Transformer isolation simplifies loop connections and eliminates polarity and grounding effects
-
Use standard Modbus commands to read/write HART device variable data
-
Includes HM Configuration app and USB cable
- Includes Microflex HART Host 3B app on a CD (60-day trial)